Prepares a new dock motor for installation by moving the dock gearbox shaft and dock motor mount to the new dock motor.
Prerequisites
| Personnel requirements |
|---|
| Required persons | Preliminary requirements | Procedure | Finalization |
|---|
| 1 | - | 10 minutes | - |
| Tools and test equipment |
|---|
| Item | Quantity | Part number | Manufacturer |
|---|
| Nonmagnetic Titanium Service Tool Kit, Small Set | 1 | 5113258 | - |
| Consumables |
|---|
| Item | Quantity | Part number | Manufacturer |
|---|
| Permatex (1 oz tube) Antiseize Lubricant | As required | 2119594 | - |
| Loctite #243 | As required | 5415261-3 | - |
| Required conditions |
|---|
| The dock motor is removed. |
Procedure
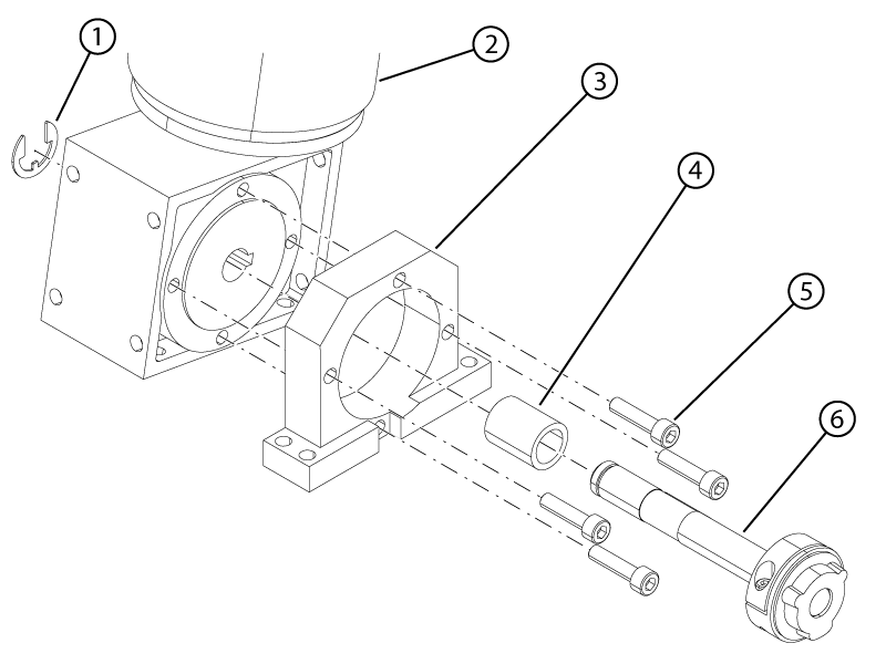
- Remove the e-clip from the end of the dock gearbox shaft on the removed dock motor using the blade of a slotted screwdriver.
Note: The e-clip may release suddenly when removed. Hold the e-clip during removal to prevent it from flying away.
Figure 1. Dock motor components
| 1 | E-clip |
| 2 | Dock motor |
| 3 | Dock mounting plate |
| 4 | Spring |
| 5 | Dock mounting plate screws |
| 6 | Dock gearbox shaft |
- Remove the dock gearbox shaft and spring from the dock motor.
- Remove the four screws securing the dock mounting plate to the removed dock motor.
- Remove the dock mounting plate from the dock motor.
- Apply Loctite #243 to the four screws.
- Install the dock mounting plate onto the new dock motor.
- Install the four screws securing the mounting plate to the dock motor.
- Apply anti-seize to the dock gearbox shaft and shaft key only on the portion of the shaft that enters the gearbox.
- Install the spring onto the gearbox shaft.
- Install the dock gearbox shaft into the new dock motor.
- Install the e-clip securing the gearbox shaft to the dock motor.