• SIGNA MR355 / SIGNA MR360
  • Service Manual
  • 5856356-3EN Revision 5.0
  • Basic Service Documentation. Copyright General Electric Company.
  • Object ID: 00000018WIA30CAFF20GYZ
  • Topic ID: id_13106129 Version: 1.6
  • Date: Apr 17, 2020 3:00:00 AM

DCPS for ICE Replacement

Prerequisites

Table 1. Personnel requirements
Required personsPreliminary requirementsProcedureFinalization
1Not Applicable30 minutes15 minutes
Table 2. Tools and test equipment
ItemQuantityEffectivityPart numberManufacturer
Standard Tool1---
Table 3. Replacement parts
ItemQuantityEffectivityPart numberManufacturer
DCPS for ICE 1-

5725996

-
Table 4. Safety

About this task

The DCPS for ICE is located beside the ICE. DCPS is an assembly of the power module with the mechanical frame.

Procedure

  1. From the Common Service Desktop, turn off the ICN(s). Refer to ICN On/Off Procedure.
  2. Turn off the System power. Refer to System Cabinet PDU Main Breaker LOTO Procedure.
  3. Disconnect the cable connectors which are routed from DCPS to ICE. If necessary, cut the tie wraps.
  4. Remove the DCPS for ICE from SC.
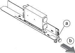
    1. Loosen one screw which are tightening power supply and chassis.
    2. Slide out the tray.
    Figure 1. DCPS for ICE
  5. Restore power supply by reverse order of removal

Finalization

  1. Restore the Power. Refer to System Cabinet PDU Main Breaker LOTO Procedure.
  2. Turn the ICNs on per ICN On/Off Procedure
  3. Note:

    For the first 3 or 4 minutes, LEDs come on only at the rear of the ICN, next to the power cables. After 3-4 minutes, you will hear the ICN fans come on and then the LED at the front of the ICN starts flashing.

    Perform a TPS Reset and then run one head or body scan.