- SIGNA™ Hero 3.0T Service Methods
- 5852800-8EN Revision 1.0
- 00000018WIA30E12E40GYZ
- id_20197361.13
- Apr 23, 2020 8:52:08 PM
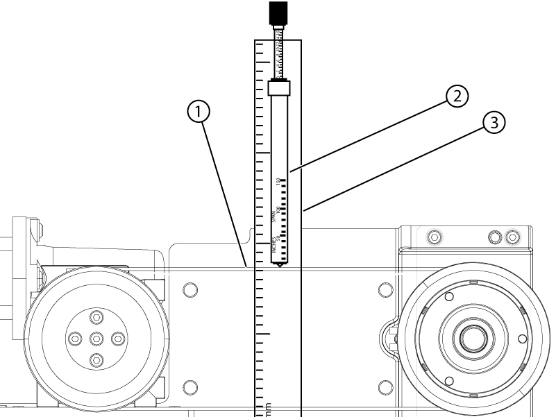
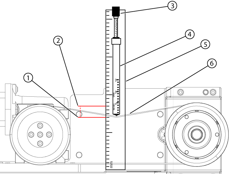
Adjusting the patient table belt tension
Measures and adjusts belt tension for a dockable patient table.
Prerequisites
| Personnel requirements | |||
|---|---|---|---|
| Required persons | Preliminary requirements | Procedure | Finalization |
| 1 | - | 15 minutes | - |
| Tools and test equipment | |||
|---|---|---|---|
| Item | Quantity | Part number | Manufacturer |
| Stainless Steel Ruler | 1 | 46-198452P2 | - |
| Tension Meter Tool | 1 | 5834577 | - |
| Nonmagnetic Titanium Service Tool Kit, Small Set | 1 | 5113258 | - |




