• SIGNA™ Hero 3.0T Service Methods
  • 5852800-8EN Revision 1.0
  • Object ID: 00000018WIA303B0450GYZ
  • Topic ID: id_2021637 Version: 1.6
  • Date: Jan 20, 2020 10:45:59 AM

Removing a table caster

Removes a caster from the dockable table.

Prerequisites

Personnel requirements
Required personsPreliminary requirementsProcedureFinalization
1-15 minutes-
Tools and test equipment
ItemQuantityPart numberManufacturer
150 mm Plastic Dial Caliper with Metric Readout15916010-
Nonmagnetic Titanium Service Tool Kit, Small Set15113258-
Scissor Jack15437045-
Required conditions
Left- and right-hand table base covers are removed.
The oil catch pan is removed.

Procedure

  1. Undock the table and move it out of the magnet room.
  2. Raise the patient table to the maximum height.
  3. Lower the table lock safety bar. Lower the table and make sure that all weight is resting on the lock bar.
    Figure 1. Lock safety bar down
  4. To maintain the proper table level, measure and record the length of the caster shaft that is exposed between the table base and the wheels.
    Figure 2. Caster shaft measurement
  5. Release the table brakes.
  6. Remove the caster linkage pin.
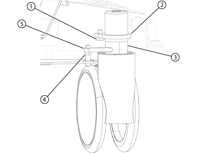
    Figure 3. Caster hardware
    1Collar bolt
    2Caster collar
    3Caster shaft
    4Caster linkage pin
    5Wheel lock lever
  7. Remove the bolt securing the collar to the table.
    Note: Record the position of the collar bolt hole for installation.
  8. Slide the collar down the caster shaft until it rests on top of the caster shaft housing.
  9. Rotate the wheel lock lever to the Full Lock position.
    Figure 4. Full Lock position
    1Steer lock
    2Free swivel
    3Full lock
  10. Raise the table with the scissor jack at least 2.5 inches (6.35 cm) off of the floor to create enough clearance to remove the caster.
    Note: Position the scissor jack under a solid surface at the bore or handle end of the table such as the examples shown.
    Figure 5. Scissor jack location examples
  11. Turn the caster counterclockwise until it releases from the table base assembly.
  12. Remove the caster collar from the caster shaft. Retain the collar for installation.
    Note: Mark the bottom of the collar prior to removal.
    Figure 6. Caster collar