• SIGNA™ Hero 3.0T Service Methods
  • 5852800-8EN Revision 1.0
  • Object ID: 00000018WIA30936C40GYZ
  • Topic ID: id_2019422 Version: 2.3
  • Date: Apr 23, 2020 8:51:54 PM

Installing the tabletop rear cover

Installs the rear cover onto the tabletop of the dockable table.

Prerequisites

Personnel requirements
Required personsPreliminary requirementsProcedureFinalization
1-5 minutes-
Tools and test equipment
ItemQuantityPart numberManufacturer
Nonmagnetic Titanium Service Tool Kit, Small Set15113258-

Procedure

  1. Install the rear cover onto the tabletop.
    Figure 1. Tabletop rear cover
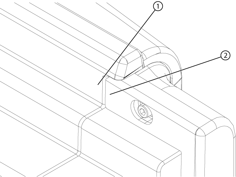
  2. Install the four screws and four washers securing the tabletop rear cover to the tabletop.
    Figure 2. Tabletop rear cover hardware
    1Screw
    2Washer
  3. Make sure the side screws are tightened until the rear cover vertical surface is aligned with the tabletop vertical surface.
    Figure 3. Tabletop rear cover side screw
    1Tabletop vertical surface
    2Rear cover vertical surface