- SIGNA MR355 / SIGNA MR360
- Service Manual
- 5856356-3EN Revision 5.0
- Basic Service Documentation. Copyright General Electric Company.
- 00000018WIA30170030GYZ
- id_131061411.2
- Jul 5, 2019 10:25:10 PM
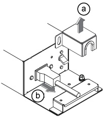
GOC PDU Replacement
Prerequisites
| Required persons | Preliminary requirements | Procedure | Finalization |
|---|---|---|---|
| 1 | Not Applicable | 45 minutes | 10 minutes |
| ||||
Procedure
Finalization
- Restore power to the GOC. Perform Lockout/Tagout of GOC.
- Verify that the system boot up.
- Log in.
User name: sdc
Password: adw2.0
- Verify that the system is fully booted.





