• SIGNA™ Hero 3.0T Service Methods
  • 5852800-8EN Revision 1.0
  • Object ID: 00000018WIA309FF350GYZ
  • Topic ID: id_2021359 Version: 3.8
  • Date: Feb 9, 2022 5:48:51 PM

Removing the hydraulic filter

Removes the hydraulic filter from the dockable patient table.

Prerequisites

Procedure

  1. Raise the patient table to the full up position.
  2. Lower the table lock safety bar.
  3. Lower the table to make sure all of its weight is resting on the lock safety bar.
    Figure 1. Table lock safety bar
    1Safety bar up (unlocked)
    2Safety bar down (locked)
  4. Place absorbent towels under the reciprocating pump.
  5. Using two wrenches (one to hold the hose fitting), turn the second wrench just enough to loosen the hose fitting, but avoid allowing any oil to leak out.
    Note: Position the wrenches to avoid breaking the Loctite joints.
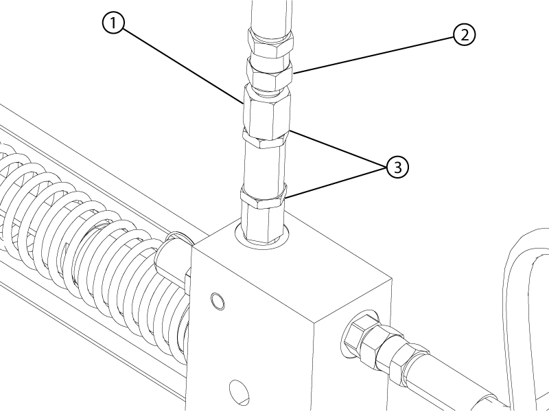
    Figure 2. Positions for wrenches on hydraulic hose connector
    1Hold wrench
    2Turn wrench
    3Loctite joint
  6. Remove the high-pressure hose from the adapter. A small amount of oil will spill out of the hose during removal; raise the hose as high as possible to limit oil spillage.
  7. Remove the filter cap from the filter using two 3/4 inch wrenches.
    Figure 3. Positions for wrenches on hydraulic filter cap
    1Hold wrench
    2Turn wrench
    3Loctite joint
    Figure 4. Removing filter element and gasket
    1Adapter
    2Filter cap
    3Filter element
    4Filter body spring
    5Filter body
    6Gasket
  8. Clean the dirty oil off the top of the filter.
  9. Remove the gasket and filter element from the filter body.