• SIGNA™ Hero 3.0T Service Methods
  • 5852800-8EN Revision 1.0
  • Object ID: 00000018WIA302D5350GYZ
  • Topic ID: id_2020492 Version: 2.8
  • Date: Apr 23, 2020 8:52:36 PM

Removing a dockable table cradle side wheel

Removes a side wheel from the dockable table patient cradle.

Prerequisites

Personnel requirements
Required personsPreliminary requirementsProcedureFinalization
1-5 minutes-
Tools and test equipment
ItemQuantityPart numberManufacturer
Nonmagnetic Titanium Service Tool Kit, Small Set15113258-

Procedure

  1. Raise the table to the up-limit.
  2. Undock the table and move it straight back from the magnet approximately 18 inches (45.7 cm).
    Figure 1. Table separated from magnet
  3. Engage the table brakes.
  4. Press and hold the Dock pedal to override the primary latch and push the cradle approximately 80 mm off the tabletop surface.
  5. Push and hold the rod button and pull the cradle off the tabletop surface until the cradle is clear of the secondary latch.
    Figure 2. Cradle rod button
  6. Raise the table with the table Up pedal to make sure it is at its highest position.
  7. Move the cradle into the bore until the side wheel to be replaced is located in the gap between the table and the magnet.
    Important: Make sure the table and bridge are properly aligned. Misalignment may cause table damage. If required, release the brake pedal, adjust the table orientation relative to the bore, and re-engage the brake to correct the alignment.
    Figure 3. Cradle positioned for wheel removal
  8. Remove the four screws securing the cradle side wheel assembly to the cradle.
    Figure 4. Cradle side wheel assembly screws
    1Screws
    2Cradle side wheel assembly
  9. Remove the wheel assembly from the cradle.
  10. Remove the spacer from the cradle side wheel bracket.
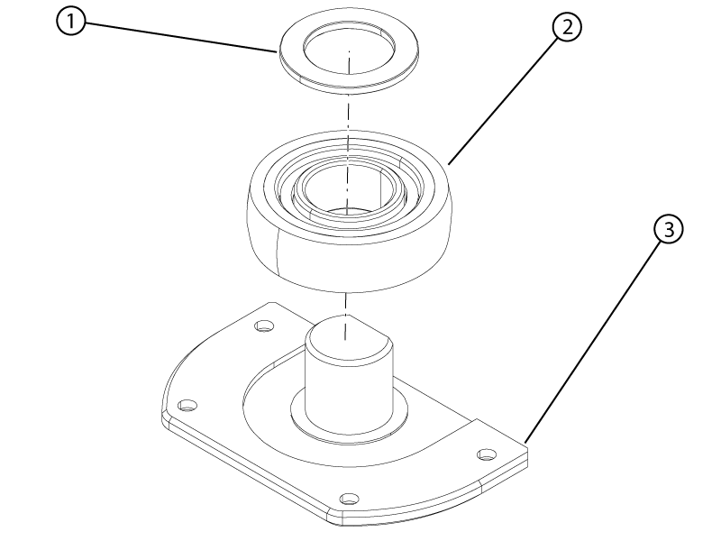
    Figure 5. Cradle side wheel assembly
    1Spacer
    2Cradle side wheel
    3Cradle side wheel bracket
  11. Remove the wheel from the bracket.