• SIGNA™ Hero 3.0T Service Methods
  • 5852800-8EN Revision 1.0
  • Object ID: 00000018WIA30120450GYZ
  • Topic ID: id_2021391 Version: 1.7
  • Date: Oct 29, 2021 9:57:00 PM

Removing the table interface assembly

Remove the table interface (TIF) assembly from the magnet outer electronics.

Prerequisites

Personnel requirements
Required personsPreliminary requirementsProcedureFinalization
1-5 minutes-
Tools and test equipment
ItemQuantityPart numberManufacturer
Nonmagnetic Titanium Service Tool Kit, Small Set15113258-

Procedure

  1. If the table dock is installed, disconnect J1, J2, J3, and J6.
    Note: Nothing is connected to J4 for the SIGNA Hero dockable table.
  2. Disconnect cable M3351 from TIF J5.
    Note: M3351 is routed over the top of the TIF.
    Figure 1. (For AR magnets) M3351 route
    Figure 2. (For UA magnets) M3351 route
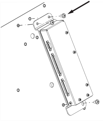
  3. Remove the three M6 x 12 Phillips Head Screws securing the TIF to the side electronics plate.
    Figure 3. Table interface screws
  4. Lift the TIF assembly away from the magnet side electronics plate.