- Discovery MR750w and SIGNA™ Architect T 3.0T System Service Methods
- 5690002-2EN Revision 4
- 00000018WIA30F8D030GYZ
- id_123739401.14
- Oct 11, 2021 3:47:42 PM
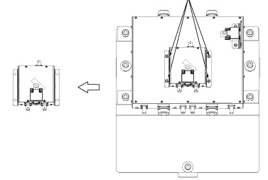
DTRSW and Preamp Combiner Replacement
Prerequisites
| Required persons | Preliminary requirements | Procedure | Finalization |
|---|---|---|---|
| 1 | Not Applicable | 30 minutes | 30 minutes |
| Item | Quantity | Effectivity | Part number | Manufacturer |
|---|---|---|---|---|
| Non-magnetic Phillips Screwdriver | 1 | - | - | - |
| Basic Hand Tool Set | 1 | - | - | - |
| Item | Quantity | Effectivity | Part number | Manufacturer |
|---|---|---|---|---|
| Dual Drive Transmit Receive Switch | 1 | - |
See FRU Manual | - |
| Preamp Combiner | 1 | - |
See FRU Manual | - |
| ||||||||
About this task
Overview
This procedure includes the following FRU replacement procedures:
-
Dual drive transmit receive switch (DTRSW). Note that the DTRSW for MR750 is different from other products like MR750w and Signa Architect. Refer to the FRU Manual for the correct part number.
-
Preamp combiner

Removing DTRSW or Preamp Combiner
Procedure
Installing DTRSW or Preamp Combiner
Procedure
Finalization
Procedure
- Replace the side covers.
- Remove LOTO from the PDM-RF power for the system. See MR Service Safety Manual, PN 5452735.
- Perform TR Dynamic Disable Calibration.
- If hardware was replaced, perform System gain calibration for body.
- Perform Dual Drive Quadrature Tool.
- Perform a body SNR test.
- Perform SaveInfo to save new calibration values.
- Complete a body and head test scan to make sure the system is functional.


