- Discovery MR750w and SIGNA™ Architect T 3.0T System Service Methods
- 5690002-2EN Revision 4
- 00000018WIA3046BE20GYZ
- id_131071132.23
- Jan 5, 2022 6:21:43 PM
Patient Table braking system replacements
This procedure explains how to replace various components in the Table braking system and how to do various braking system checks at the completion of the replacements.
Prerequisites
| Personnel requirements | |||
|---|---|---|---|
| Required persons | Preliminary requirements | Procedure | Finalization |
| 1 | - | 30-60 minutes | 5 minutes |
| Tools and test equipment | ||||
|---|---|---|---|---|
| Item | Quantity | Effectivity | Part number | Manufacturer |
| Non-Magnetic Tool Kit | 1 | - |
5113258 or 5112581 | - |
| Consumables | ||||
|---|---|---|---|---|
| Item | Quantity | Effectivity | Part number | Manufacturer |
| Cable Ties | As needed. | - | - | - |
| Loctite 242 | 0.5 CC | - |
46-170686P1 | - |
| Replacement parts | ||||
|---|---|---|---|---|
| Item | Quantity | Effectivity | Part number | Manufacturer |
| Shoulder Screw, IN ¼-20 x 3/8, SS18-8 | 3 | - |
See itemized Table parts list in FRU Manual. | - |
| Shoulder Screw, IN ¼-20 x 5/8, SS18-8 | 2 | - |
See itemized Table parts list in FRU Manual. | - |
| Nylon Washer | 9 | - |
See itemized Table parts list in FRU Manual. | - |
| Rubber Washer | 1 | - |
See itemized Table parts list in FRU Manual. | - |
| Shaft Linkage-Right | 1 | - |
See itemized Table parts list in FRU Manual. | - |
| Shaft Linkage-Left | 1 | - |
See itemized Table parts list in FRU Manual. | - |
| Link - Reversing | 1 | - |
See itemized Table parts list in FRU Manual. | - |
| Link - Left Rear | 1 | - |
See itemized Table parts list in FRU Manual. | - |
| Link - Left Front | 1 | - |
See itemized Table parts list in FRU Manual. | - |
| Link - Right Rear | 1 | - |
See itemized Table parts list in FRU Manual. | - |
| Link - Right Front | 1 | - |
See itemized Table parts list in FRU Manual. | - |
| Bearing IGUS MCI-12-02 | 4 | - |
See itemized Table parts list in FRU Manual. | - |
| Shaft Extension | 2 | - |
See itemized Table parts list in FRU Manual. | - |
| Mounting Block | 1 | - |
See itemized Table parts list in FRU Manual. | - |
| Pin - Actuator | 4 | - |
See itemized Table parts list in FRU Manual. | - |
| ||||
About this task
This procedure explains how to replace various components in the Table braking system and how to do various braking system checks at the completion of the replacements. The replacements and functions covered in this document include:
Shaft Linkage-Right, Shaft Extension, and Bearing IGUS Replacement
Caster Pin Actuator Replacement
Left rear brake link replacement
Right rear brake link plate replacement
Front left and right brake link plate replacement
Step 3 (Braking system checks)
Shaft Linkage-Right, Shaft Extension, and Bearing IGUS Replacement
About this task
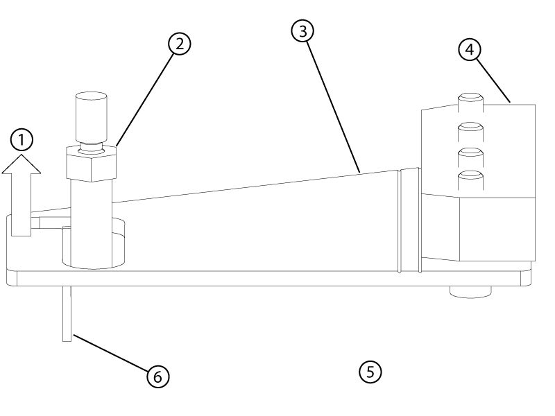
This procedure is written for the right side of the Table. The procedure for the left side of the Table, as seen in Figure 1, is similar.
Shaft Linkage-Right, Shaft Extension, and Bearing IGUS Removal
Procedure
Shaft Linkage-Right and Shaft Extension Installation
Procedure
- Press the lower pedal to create space and replace the Shaft Linkage through the rear of the Table.
- Replace the Shaft Extension in the Shaft Linkage Right.
- For best access to Shaft Extension mounting screws, put the Table brake in "free rotate" position.
- Replace the Shaft Extension mounting screws. (If more space is needed to access the Shaft Extension mounting screws or for better torque, rotate the bottom of the Shaft Extension out.) Apply Loctite when reinstalling the mounting screws.
- Replace the shoulder screw.
- Replace the screws that attach the Shaft Linkage-Right to the Link-Right Rear, located at the right rear side of the Table. Also replace the two screws that attach the Link-Right Front on the opposite side of the Table in the same location.
- Raise the Table and raise the Lock Safety Bar for normal operation.
- Replace both the Front and Rear Base Covers. Reinstall the two front screws and the two screws that attach the Bellows.
- Replace both Lower Base Side Covers. Reinstall the two screws that fasten each Cover to the Table assembly. Note that Velcro strips attach the Lower Base Side Covers to the Bellows.
Reversing Link Replacement
Procedure
Mounting Block Replacement
Procedure
Caster Pin Actuator Replacement
About this task
The pin actuator is a threaded pin that bolts into the caster arm.

























