• Object ID: 00000018WIA3007D630GYZ
  • Topic ID: id_19633151 Version: 6.0
  • Date: Feb 24, 2021 12:58:18 AM

Applying LOTO - MDP

Prerequisites

Personnel requirements
Required personsPreliminary requirementsProcedureFinalization
1-10 minutes-
Tools and test equipment
ItemQuantityPart numberManufacturer
RED Logout Tagout Lock with Each Lock Uniquely Keyed 15451778-
Multi-Locking Device (if multiple service personnel are involved)146-194427P313-
Red Warning LOTO Tag146-194427P322-
Digital Voltmeter (DVM)146-194427P284-
Safety

Before working in any GE Healthcare MR suite or performing any GE Healthcare service procedure, you must:

  • Have read and understood all hazard conditions and safety requirements in the latest revision of the GE Healthcare MR Service Safety Manual (5452735).
  • Have successfully completed all relevant GE Healthcare Environmental Health and Safety (EHS) courses (or for non-GE employees, equivalent workplace training courses).
  • Comply with all site-specific training and workplace safety requirements.

If you have any safety concerns at any time, do not begin work or immediately stop work and move to a safe location. Immediately contact your supervisor or site safety officer for instructions on how to proceed.

About this task

This procedure removes all power from the Main Disconnect Panel (MDP).
  • GE Service Personnel are not permitted to perform any work on a non-GE MDP.
  • GE Service Personnel are not permitted to work install, service, or maintain a GE-supplied MDP (including battery replacement). Work must be performed by qualified electricians.
  • Testing or troubleshooting may be permitted if the GE Service person has completed all appropriate training and has proper PPE.
This procedure has three parts:
  • Preparing the system for shutdown.
  • Disconnecting building main power from the MDP.
  • Checking the MDP to make sure voltage is dissipated.

Locking out and tagging out the Main Disconnect Panel (MDP) also removes power from both the Heat Exchanger Cabinet (HEC) and the Power Distribution Unit (PDU). For information about locking out and tagging out these components individually, see LOTO for Heat Exchanger Cabinet (HEC) and LOTO for the PGR PDU/Gradient Subsystem.

Note: This procedure must be performed by a LOTO-authorized GE Field Engineer working with a customer-supplied electrician.

Completing all of the steps in this procedure ensures a safe environment and avoids equipment damage when working on the affected parts.

Procedure details
Name of equipmentNumber of locksTitles of employees authorized to perform LOTOTitles of affected employeesHow to notify
LOTO at building main power removes electrical power from the MDP, the Heat Exchanger Cabinet (HEC) and Power Distribution Unit (PDU) 1 per GE field engineer (FE)GE Field Engineers working with a customer-supplied electricianHospital personnel Verbally, posted signs
Note: The following table describes the type, location, and magnitude of energy to be locked out/tagged out.
Energy sourceYesNoLocation of energyMagnitude/type of energy
ElectricalxMain Disconnect Panel (MDP) circuit breaker panel380-480VAC
Pneumaticx
Hydraulicx
Gas/Water/Steamx
Chemicalx
Mechanical Motionx
Gravityx
Springsx
Thermalx
Stored EnergyxTime discharge of internal capacitors208VAC, 420VAC
Air Under Pressurex
Oil Under Pressurex
Water Under Pressurex
Gas Under Pressurex
Steamx
Otherx

Types of equipment and/or methods selected to dissipate or isolate stored energy

About this task

Time method for dissipation of stored energy.
  • Internal to the MDP: Instantaneous
  • Auxiliary equipment in other cabinets: 5 minutes

Type(s) of equipment and/or method(s) used to ensure disconnection(s)

About this task

A personal lock and tag per Field Engineer (FE) at the site working on the de-energized equipment at the time of LOTO.

Procedure

  1. Notify affected personnel that LOTO will be applied.
  2. Make sure the host computer is shut down.
    Note: Powering off HEC without first powering down pumps from VFD can put the VFD at risk of damage.
  3. Toggle off the pumps and blower with the PLC Signal Box keypad as follows:
    • Blower: Press and hold the up-arrow ( ^ ), and press F1
    • Gradient Coil Pump: Press and hold the up arrow ( ^ ), and press F2
    • Power Electronics: Press and hold the up arrow ( ^ ), and press F3
      Figure 1. PLC signal box
  4. Note: Observe the Power On light on the MDP. If the light is on, it signifies the main breaker is closed and control power is on.
    Press the System Off button on the MDP, which feeds the PGR cabinet and the HEC cabinet.
    Figure 2. Main incoming switch on MDP with LOTO lock (GE MDP)
    1System off button
    2LOTO lock
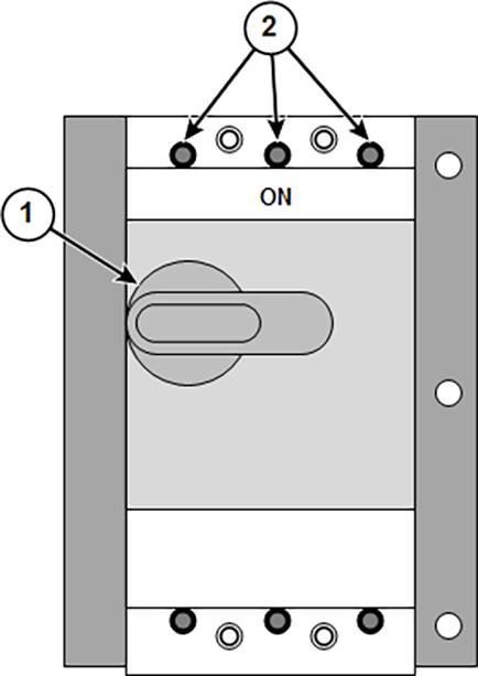
    Figure 3. Main incoming switch on MDP with LOTO lock (teal MDP)
    1LOTO lock
    2System off button
  5. Turn the Main Input Switch (labeled with LOTO Lock) to the Off position.
  6. Left unchecked, the magnet monitor will call out reporting that the shield cooler compressor is powered off. Inhibit the reporting of false RFS events by placing the magnet monitor in Service mode.
  7. Have a customer-supplied electrician disconnect the building main power from the MDP.
  8. Apply your LOTO lock to the lockout/tagout device used for building main power.
  9. Note: Observe the Power On light on the MDP. The light should now be off. Do not assume that because the light is off that power is off. You must do the next step to measure the voltage as a confirmation.
    Open the MDP door and check that all voltage has dissipated. At the output of the main breaker, use a voltmeter to measure the voltage between each INPUT phase voltage test point and GND (ground). This reading should be <1V.
    Figure 4. MDP test points (GE MDP)
    Figure 5. MDP test points (teal MDP)
  10. Use a digital voltmeter to measure the voltage between each phase pair. This reading should be <1V.