- SIGNA MR355 / SIGNA MR360
- Service Manual
- 5856356-3EN Revision 5.0
- Basic Service Documentation. Copyright General Electric Company.
- 00000018WIA3056AF20GYZ
- id_131063001.2
- Jul 5, 2019 10:46:05 PM
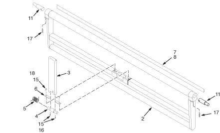
STANDARD PATIENT TRANSPORT 5455274
For Patient Table Straps and Pads FRU, see Straps and Pads for Patient Table

| Item | Part Number | Description | Qty | FRU | Lower Assy |
| 1 | 5159535 | PACKING ASSY HDMR 2 ASSY | 1.0 | No | |
| 2 | 5451341 | TABLE BASE ASSY | 1.0 | Yes | TABLE BASE ASSY 5451341 |
| 3 | 5159990 | CRADLE ASSY | 1.0 | Yes | CRADLE ASSY 5159990 |
| 4 | 5442084 | TABLE COVER KIT | 1.0 | No | TABLE COVER KIT 5442084 |
| 5 | 5444240 | RATING LABEL HDMR-2 TABLE | 1.0 | No | |
| 6 | 5389253 | ETL Label | 1.0 | No | |
| 35 | 2340318 | LABEL | 1.0 | No | |
| 43 | 2353921 | CE MARKING COMPLIANCE LABEL | 1.0 | No | |
| 44 | 5177278 | Castor Label | 4.0 | No |
TABLE BASE ASSY 5451341

| Item | Part Number | Description | Qty | FRU | Lower Assy |
| 3 | 5456898 | TABLE BASE KIT | 1.0 | No | TABLE BASE KIT 5456898 |
| 4 | 5438853 | TABLE TOP OUTSOURCED | 1.0 | Yes | TABLE TOP 5438853 |
| 5 | 2136115 | HOLE COVER STICKERS UFI | 1.0 | Yes | |
| 8 | 46-136342P23 | BUSHING BEARING OIL-IMP BRONZE, SLEEVE | 2.0 | Yes | |
| 9 | 46-170073P5 | .002 THK X 2.0 WIDE X 60 YD ROLL (REV TK, 2/92). OK | 0.0 | Yes | |
| 10 | 46-208560P102 | SCREW, 10-32 X 5/8 BHMS, SS N77P16010(PASSIVATED) | 7.0 | Yes | |
| 11 | 46-208560P123 | SCREW SCREW OLD F65D6B1 | 24.0 | Yes | |
| 12 | 46-208601P25 | 3/8~ SCREW, INTERNAL TOOTH PHOS BRZ | 1.0 | Yes | |
| 13 | 46-208713P10 | CLAMP OR CLIP CABLE OD 0.625 RICHCO NO. E-10 | 2.0 | Yes | |
| 15 | 46-208945P3 | 1/4-28, .438 HEX X .219 THK, BRASS | 3.0 | Yes | |
| 16 | 46-220277P23 | EXT RADIAL MOUNT 0.375 SHAFT DIA 0.296 FREE DIA-.035 THK BE-CU WALDES TRUARC #5133-37-C | 5.0 | Yes | |
| 17 | 46-220277P27 | EXT RADIAL MOUNT 0.188 SHAFT DIA 0.123 FREE DIA .027 THK BERYL COPPER WALDES TRUARC #X5133-18-C | 2.0 | Yes | |
| 18 | 46-221304P7 | 0.188 DIA X 0.65 LENGTH, 303 SST | 1.0 | Yes | |
| 19 | 46-221560P3 | SCREW SCREW OLD 18-8 PASSIVATED | 3.0 | Yes | |
| 20 | 46-230434P2 | 0.047 WIRE DIA X 0.594 LG 302 SST HAIRPIN TYPE | 1.0 | Yes | |
| 21 | 46-230947P1 | F-4040-A TYGON TUBING. .312~ I.D., .5~ O.D., .093~ WALL. TYGON F-4040-A TUBING. (DWG REV 11/9 2, JFK - OK). | 0.0 | Yes | |
| 23 | 46-256047P1 | MOBILTEMP SHC 32 14 OZ CARTRIDGE | 0.0 | Yes | |
| 24 | 46-256049P16 | HOLE DIA 1.000 MAX THK .1719 HEAD DIA 1.2187 O~ALL HT .4062 NYLON WHITE | 1.0 | Yes | |
| 25 | 46-256080P1 | CABLE,PUSH PULL,NYLON,MOLYBDENUM DISULFITE IMPREGNATED OD .130 ID .060 SAVA INDUSTRIES #C-130-N | 0.0 | Yes | |
| 26 | 46-265887P2 | CENTER 3/8~ DIA SCISSORS UPPER ENDS | 2.0 | Yes | |
| 27 | 46-265888P1 | 2~ OD 3/8~ ID X 7/16 LG BRASS | 2.0 | Yes | |
| 28 | 46-265895P1 | .187 DIA | 1.0 | Yes | |
| 29 | 5404301 | FOOT PEDAL PAD, RUBBER | 4.0 | Yes | |
| 30 | 5449126 | Amboard assy | 2.0 | Yes | Amboard assy 5449126 |
| 31 | 46-271028P1 | HYDRAULIC CYLINDER TO TABLE TOP | 1.0 | Yes | |
| 32 | 46-271125P1 | FOOT PAD ~UP~ AND ~DOWN~ LABEL SET | 1.0 | Yes | |
| 33 | 46-271126P1 | ~DOCK~ AND ~UNDOCK~ | 1.0 | Yes | |
| 34 | 46-271512P1 | ADJUSTMENT SCREW | 3.0 | Yes | |
| 35 | 46-271554P1 | ROLLER TRACK, .015 THK STAINLESS STL | 1.0 | Yes | |
| 36 | 46-271562P1 | 1~ OD .390~ HOLE, .4~ THK, NYLON | 2.0 | Yes | |
| 37 | 46-271774P1 | GUIDE STRIP BACKING PLATE, .06 SST | 2.0 | Yes | |
| 39 | 46-282216P1 | 1~X.44~X.38~ .194 HOLE, BRASS | 1.0 | Yes | |
| 40 | 46-307878G1 | HYDRAULIC OIL FILTER AND GASKET FILTER NUPRO PART # SS-4FE-60 OR___SS-4F-P4-60 OR___SS-4F-4K-60 GASKET NUPRO PART # SS-4F-K3 | 1.0 | Yes | HYDRAULIC OIL FILTER AND GASKET FILTER 46-307878G1 |
TABLE BASE KIT 5456898










HYDRAULIC PUMP ASSEMBLY MRTBL2 PATIENT TRANSPORT 46-265779G1

| Item | Part Number | Description | Qty | FRU | Lower Assy |
| 2 | 46-265736P1 | PUMP HOUSING | 1.0 | No | |
| 6 | 46-265944P1 | RETAINER | 1.0 | No | |
| 7 | 46-221953P10 | SPRING FEE LENGTH 9.61 RATE-LB/IN 11.38 | 1.0 | No | |
| 8 | 46-265945P1 | PULL ROD | 2.0 | No | |
| 9 | 46-221953P11 | SPRING FREE LENGTH 11.00 RATE-LB/IN 1.00 | 2.0 | No | |
| 10 | 46-208735P46 | SPLIT LENGTHWISE .125 DIA X 0.625 LG .028 WALL 420 S ST N533P1310 | 4.0 | Yes | |
| 11 | 46-136342P127 | BUSHING BEARING FLANGE: OD 0.6875~, THK 0.093~ OIL-IMP BRONZE | 2.0 | No | |
| 12 | 46-230860P1 | LEE PLGA2810010 | 2.0 | No | |
| 13 | 46-230856P1 | LEE CKFA3751001A CHECK VALVE | 1.0 | No | |
| 14 | 46-230856P2 | LEE CKRA3756005A CHECK VALVE | 1.0 | No | |
| 15 | 46-230857P1 | LEE PRRA2815900L PRESSURE RELIEF VALVE | 1.0 | No | |
| 16 | 46-230859P1 | LEE PLGA3430010 | 1.0 | No | |
| 17 | 46-230871P1 | HOSE-FITTED TO PIPE THD BRASS 9/16-18 RH THD MALE TO 1/4 PIPE THD MALE AEROQUIP #2021-4-6B | 1.0 | No | |
| 18 | 46-230540P8 | 5/16 ID HOSE TO 1/4 PIPE THD BRASS BARBED | 1.0 | No | |
| 19 | 46-230614P1 | HYDRAULIC, LOCTITE 569, 50ML BOTTLE 12 MONTH SHELF LIFE FROM DATE OF SHI PMENT FROM THE MANUFACTURER. (REV, TK, 1/92) - OK. | 0.0 | Yes | |
| 20 | 46-256047P1 | MOBILTEMP SHC 32 14 OZ CARTRIDGE | 0.0 | Yes | |
| 21 | 2196829 | 2.90~ ACETAL SLEEVE I.D. 1~ | 1.0 | No | |
| 22 | 5166950 | Cylinder Pump | 1.0 | No | |
| 23 | 5166543 | Insert | 1.0 | No | |
| 24 | 46-230853P1 | O-RING .62 ROD DIA .88 OD .13 DEPTH PARKER HANNIFIN PACKING DIV. #12500625-4274 | 1.0 | No | |
| 25 | 46-230854P1 | O-RING 0.625 ROD DIA .88 OD PARKER HANNIFIN PACKING DIV. #D-625-4274 | 1.0 | No | |
| 26 | 46-208735P17 | PINS SPLIT LENGTHWISE .062 DIA X 0.187 LG .012 WALL 420 S ST N533P603 | 2.0 | Yes | |
| 29 | 46-265943P1 | PLATFORM | 1.0 | No | |
| 30 | 5166542 | SHAFT PUMP | 1.0 | No | |
| 32 | 46-271940P1 | 1/4-18 NPT IMO DELAVAL #U200F-05 | 1.0 | No | |
| 33 | 46-256134P1 | SINCLAIR & RUSH S-CAP TRIMLINE .313-3/4~ I.L.-701-1 RED | 1.0 | No | |
| 34 | 46-230568P5 | CAPLUG ASC-06DN 3/8 OD TUBE 9/16-18 THREAD | 1.0 | Yes |
HYDRAULIC CYLINDER, TABLE ELEVATING MRTBL2 PATIENT TRANSPORT 46-265780G1

| Item | Part Number | Description | Qty | FRU | Lower Assy |
| 2 | 46-265770P1 | BASE CYLINDER | 1.0 | No | |
| 3 | 46-265771P1 | CYLINDER ENDCAP | 1.0 | No | |
| 4 | 46-265772P1 | SHAFT,PLUNGR | 1.0 | No | |
| 5 | 46-265773P1 | CYLINDER | 1.0 | No | |
| 6 | 46-265964P1 | PLATE | 1.0 | No | |
| 7 | 46-265794P1 | PLUNGER VALVE | 1.0 | No | |
| 9 | 46-265792P1 | BLOCK VALVE | 1.0 | No | |
| 10 | 1000904P505 | ID 1.000 OD 1.250 THK .125 FELT,TYPE F7 | 1.0 | No | |
| 11 | 46-282081P1 | ROD SEAL | 2.0 | No | |
| 12 | 46-136374P93 | WIDTH 2.00+/-.08MM ID 35.00+/-.5MM NITRILE BUNA N DUROMETER A 70 GREAT LAKES RUBBER, 204-035-4470 | 2.0 | No | |
| 13 | 46-230858P1 | LEE CKFA2505005A CHECK VALVE | 1.0 | No | |
| 14 | 46-230855P1 | LEE CKFA1876005A CHECK VALVE | 1.0 | No | |
| 15 | 46-256091P1 | LEE CO. #JETA1872130D | 1.0 | No | |
| 16 | 46-230860P1 | LEE PLGA2810010 | 1.0 | No | |
| 17 | 46-230853P3 | O-RING 0.25 ROD DIA 0.50 OD .13 DEPTH PARKER HANNIFIN PACKING DIV. #12500250-4274 | 1.0 | Yes | |
| 18 | 46-136353P103 | SPRING-INCH COMPRESSION .38 INCHES . FREE LENGTH .38 RATE-LB/IN 22.16 | 2.0 | No | |
| 19 | 46-230872P1 | HOSE-FITTED TO PIPE THD BRASS 9/16-18 RH THD MALE TO 1/4 PIPE FEMALE THD AEROQUIP #2022-4-6B | 1.0 | Yes | |
| 20 | 46-230880P1 | FILTER, OIL .250 NPT INLET .250 NPT OUTLET BRASS 60 MICRON TYPE 316 STAINLESS STEEL ELEMENT SEE 46-230889 ELEMENT NUPRO CO. #B-4F2-60 | 1.0 | Yes | |
| 24 | 46-220277P26 | EXT RADIAL MOUNT 0.188 SHAFT DIA 0.145 FREE DIA .025 THK BERYLLIUM COPPER WALDES TRUARC #5133-18-C | 1.0 | Yes | |
| 25 | 46-230540P8 | 5/16 ID HOSE TO 1/4 PIPE THD BRASS BARBED | 1.0 | No | |
| 26 | 46-230614P1 | HYDRAULIC, LOCTITE 569, 50ML BOTTLE 12 MONTH SHELF LIFE FROM DATE OF SHI PMENT FROM THE MANUFACTURER. (REV, TK, 1/92) - OK. | 0.0 | Yes | |
| 27 | 46-265974P1 | PIN | 1.0 | No | |
| 28 | 46-256047P1 | MOBILTEMP SHC 32 14 OZ CARTRIDGE | 0.0 | Yes | |
| 32 | 46-271493P1 | RAM BUSHING COLLAR | 1.0 | No | |
| 33 | 46-271832P1 | BLEEDER | 2.0 | No | |
| 35 | 46-265793P1 | PIN BLOCK | 1.0 | No | |
| 36 | 46-265795P1 | LEVER VALVE | 1.0 | No | |
| 37 | 46-271166P1 | VALVE SPRING LEVER | 1.0 | No | |
| 38 | 46-230957P1 | LOCTITE 680, 50ML BOTTLE 12 MONTH SHELF LIFE FROM DATE OF SHI PMENT FROM THE MANUFACTURER | 0.0 | Yes | |
| 40 | 46-271833P1 | PLUG .275DIA.X .19 | 2.0 | No | |
| 41 | 46-170686P1 | LOCTITE 242, 0.5CC TUBE 12 MONTH SHELF LIFE FROM DATE OF SHI PMENT FROM THE MANUFACTURER. | 0.0 | Yes | |
| 42 | 46-256134P1 | SINCLAIR & RUSH S-CAP TRIMLINE .313-3/4~ I.L.-701-1 RED | 1.0 | No | |
| 43 | 46-230568P5 | CAPLUG ASC-06DN 3/8 OD TUBE 9/16-18 THREAD | 1.0 | Yes | |
| 9948 | 46-208560P123 | SCREW SCREW OLD F65D6B1 | 2.0 | Yes | |
| 14596 | 46-208910P1 | SCREW SCREW OLD 18-8 S ST (N58P9003) (PASSIVATED) | 2.0 | No | |
| 16960 | 1000904P370 | ID 0.188 OD 0.375 THK .020 BRASS B11H89C | 2.0 | Yes | |
| 17434 | 46-221560P3 | SCREW SCREW OLD 18-8 PASSIVATED | 1.0 | Yes |
DOCK HOOK MOUNTING ARM WELDMENT ASM 46-271676G1

| Item | Part Number | Description | Qty | FRU | Lower Assy |
| 2 | 46-265891G1 | HOOK WELDMENT | 1.0 | No | |
| 3 | 46-136342P131 | BUSHING BEARING OIL-IMP BRONZE, SLEEVE | 2.0 | Yes |
PUMP PEDAL ASM INFINITY COLOR 5450368

| Item | Part Number | Description | Qty | FRU | Lower Assy |
| 5 | 5455306 | PEDAL PUMP CASTING INFINITY COLOR | 1.0 | No | |
| 6 | 46-136342P112 | BUSHING BEARING FLANGE: OD 0.875~, THK .125~ OIL IMP BRONZE | 2.0 | Yes |
DOWN PEDAL ASM INFINITY COLOR 5457682

| Item | Part Number | Description | Qty | FRU | Lower Assy |
| 5 | 5445111 | PUMP DOWN PEDAL INFINITY COLOR | 1.0 | No | |
| 6 | 46-136342P112 | BUSHING BEARING FLANGE: OD 0.875~, THK .125~ OIL IMP BRONZE | 2.0 | Yes |
UNDOCK PEDAL ASM INFINITY COLOR 5443456

| Item | Part Number | Description | Qty | FRU | Lower Assy |
| 5 | 5437894 | UNDOCK PEDAL CASTING INFINITY COLOR | 1.0 | No | |
| 6 | 46-136342P112 | BUSHING BEARING FLANGE: OD 0.875~, THK .125~ OIL IMP BRONZE | 2.0 | Yes |
DOCK PEDAL ASM INFINITY COLOR 5461489

| Item | Part Number | Description | Qty | FRU | Lower Assy |
| 5 | 5437117 | PEDAL DOCK CASTING INFINITY COLOR | 1.0 | No | |
| 6 | 46-136342P112 | BUSHING BEARING FLANGE: OD 0.875~, THK .125~ OIL IMP BRONZE | 2.0 | Yes |
UP INDICATOR ROD ASSEMBLY 46-271916G1

| Item | Part Number | Description | Qty | FRU | Lower Assy |
| 2 | 2297484 | PUSH ROD UP INDICATOR | 1.0 | No | |
| 3 | 46-271142P1 | BUMPER OLD | 1.0 | No | |
| 4 | 46-170686P1 | LOCTITE 242, 0.5CC TUBE 12 MONTH SHELF LIFE FROM DATE OF SHI PMENT FROM THE MANUFACTURER. | 0.0 | Yes | |
| 5 | 46-208935P8 | 1/4-20, 7/16~ HEX X 3/16 THK, BRASS | 1.0 | Yes |
14.13~ LONG ALUM ROD W/BUMPER 46-271517G1
| Item | Part Number | Description | Qty | FRU | Lower Assy |
| 2 | 46-265912P1 | 1/4 DIA | 1.0 | No | |
| 3 | 46-271142P1 | BUMPER OLD | 1.0 | No | |
| 4 | 46-170686P1 | LOCTITE 242, 0.5CC TUBE 12 MONTH SHELF LIFE FROM DATE OF SHI PMENT FROM THE MANUFACTURER. | 0.0 | Yes | |
| 5 | 46-208935P8 | 1/4-20, 7/16~ HEX X 3/16 THK, BRASS | 1.0 | Yes |
RIGHT ACTUATOR 46-271516G1
| Item | Part Number | Description | Qty | FRU | Lower Assy |
| 2 | 2297474 | PUSH ROD | 1.0 | No | |
| 3 | 46-271142P1 | BUMPER OLD | 1.0 | No | |
| 4 | 46-170686P1 | LOCTITE 242, 0.5CC TUBE 12 MONTH SHELF LIFE FROM DATE OF SHI PMENT FROM THE MANUFACTURER. | 0.0 | Yes | |
| 5 | 46-208935P8 | 1/4-20, 7/16~ HEX X 3/16 THK, BRASS | 1.0 | Yes |
MECHANICAL LINKAGE 46-271576G1
| Item | Part Number | Description | Qty | FRU | Lower Assy |
| 2 | 46-271575P1 | CYLINDER | 1.0 | No | |
| 3 | 46-136342P131 | BUSHING BEARING OIL-IMP BRONZE, SLEEVE | 2.0 | Yes | |
| 4 | 46-271574P1 | DAMPENER SHAFT | 1.0 | No | |
| 5 | 46-230853P3 | O-RING 0.25 ROD DIA 0.50 OD .13 DEPTH PARKER HANNIFIN PACKING DIV. #12500250-4274 | 1.0 | Yes | |
| 7 | 46-220277P6 | EXT RADIAL MOUNT 0.219 SHAFT DIA 0.185 FREE DIA-.025 THK STL BLK PHOS N910P21 E-RING WALDES TRUARC #X5133-21 | 1.0 | Yes | |
| 8 | 46-230540P7 | 5/16 ID HOSE TO 1/8 PIPE THD BRASS BARBED | 2.0 | No | |
| 9 | 46-230614P1 | HYDRAULIC, LOCTITE 569, 50ML BOTTLE 12 MONTH SHELF LIFE FROM DATE OF SHI PMENT FROM THE MANUFACTURER. (REV, TK, 1/92) - OK. | 0.0 | Yes | |
| 10 | 46-256047P1 | MOBILTEMP SHC 32 14 OZ CARTRIDGE | 0.0 | Yes | |
| 11 | 1000904P506 | ID 0.250 OD 0.500 THK .062 FELT,TYPE F55 | 1.0 | Yes | |
| 12 | 46-256134P1 | SINCLAIR & RUSH S-CAP TRIMLINE .313-3/4~ I.L.-701-1 RED | 0.0 | No |
TABLE TOP 5438853

| Item | Part Number | Description | Qty | FRU | Lower Assy |
| 112 | 2297475 | CABLE BUSHING | 1.0 | Yes | |
| 117 | 46-136353P105 | SPRING-INCH SPRING FREE LG 2.000 RATE LB/IN 2.1 | 1.0 | Yes | |
| 129 | 46-136342P51 | BUSHING BEARING OIL-IMP BRONZE, SLEEVE | 1.0 | Yes | |
| 131 | 5146627 | Table top assembly | 1.0 | Yes | Table top assembly 5146627 |
| 133 | 46-271179P1 | SECONDARY STOP PIN HOUSING, DELRIN | 1.0 | Yes | |
| 134 | 5443455 | TABLE HANDLE | 2.0 | Yes | |
| 135 | 46-271007P1 | ARMBOARD | 1.0 | Yes | |
| 136 | 46-271322P1 | CRADLE STOP PIN, 1/4~ BRASS BAR | 1.0 | Yes | |
| 142 | 46-271273P1 | MOLDED THERMOPLASTIC RUBBER | 2.0 | Yes | |
| 144 | 46-244701P1 | WEAR BLOCK, NMR TABLE 5/8~ X 1-7/8~ X 7/16~, WHITE DELRIN | 1.0 | Yes | |
| 146 | 5145966 | FLIPPER | 1.0 | Yes | |
| 148 | 46-221890P1 | NOMINAL DIA .312 X 3.00 LG 303 S ST | 1.0 | Yes | |
| 150 | 46-243365P1 | CRADLE STOP, POLYURETHANE | 1.0 | Yes | |
| 155 | 5145964 | FLIPPER HOUSING | 1.0 | Yes | |
| 156 | 5152089 | COVER | 1.0 | Yes | |
| 157 | 5145965 | FLIPPER BOTTOM COVER | 1.0 | Yes | |
| 159 | 5451964 | New Side,Bumper | 2.0 | No | |
| 160 | 5154908 | NEW TABLE PANEL-R.H | 1.0 | No | |
| 161 | 5154908-2 | NEW PANEL ASSY LH | 1.0 | No | |
| 164 | 5451964 | New Bumper,Side | 2.0 | No | |
| 165 | 5446706 | HEAD END BUMPER | 1.0 | Yes | |
| 166 | 5444256 | FOOT END BUMPER | 1.0 | Yes | |
| 170 | 5437893 | PINCH GUARD | 2.0 | Yes | |
| 171 | 46-282398P1 | ADHESIVE TRANSFER TAPE, TYPE A-25. FIRM ACRYLIC, PRESSURE SENSITIVE. 1~ WIDE X .005~ THICK. | 0.13 | Yes | |
| 173 | 46-271178P1 | SECONDARY STOP PIN, BRASS | 1.0 | Yes | |
| 176 | 46-271200P1 | ALUMINUM INVESTMENT CASTING | 2.0 | Yes | |
| 178 | 46-271511P1 | 71~ (TRIM AR);SWAGED BALL ONE END | 3.0 | Yes | |
| 181 | 46-317191G1 | TABLE LATCH ASSEMBLY | 1.0 | Yes | TABLE LATCH ASSEMBLY 46-317191G1 |
| 189 | 5146521 | New Cable Sleeve with end cap | 1.0 | Yes | |
| 190 | 46-256080P1 | CABLE,PUSH PULL,NYLON,MOLYBDENUM DISULFITE IMPREGNATED OD .130 ID .060 SAVA INDUSTRIES #C-130-N | 9.84 | Yes | |
| 202 | 46-271551G1 | DETACHABLE, TELESCOPING IV SUPPORT MRTBL2 | 1.0 | Yes | DETACHABLE, TELESCOPING IV SUPPORT MRTBL2 46-271551G1 |
| 203 | 46-271408P1 | 1.38~OD, .635~ HOLE, 2.5~LG, ALUM | 2.0 | Yes | |
| 204 | 46-271387P1 | WHITE DELRIN | 2.0 | Yes | |
| 205 | 46-271388P1 | 1~OD .125~ WALL, 17.68~LG, ACYRLIC | 2.0 | Yes | |
| 224 | 46-208713P10 | CLAMP OR CLIP CABLE OD 0.625 RICHCO NO. E-10 | 1.0 | Yes | |
| 232 | 2297478 | DETENT MTG BLOCK | 1.0 | Yes | |
| 235 | 46-208713P1 | CLAMP OR CLIP CABLE OD 0.125 RICHCO NO. E-2 | 1.0 | Yes | |
| 237 | 2376037 | WARNING LABEL | 1.0 | Yes | |
| 238 | 46-170209P1 | 0.034 X 1.00 X 100 FT MINIMUM QUANTITY 300 ROLLS SEE TEXT FOR CORRECT ORDER QUANTITY. | 0.0 | Yes | |
| 239 | 46-208560P123 | SCREW SCREW OLD F65D6B1 | 23.0 | Yes | |
| 240 | 46-208946P4 | ANSI STANDARD HEXGON TYPE 18-8 STAIN ESS JAM NUT | 3.0 | Yes | |
| 241 | 46-208737P48 | SCREW SCREW OLD PASSIVATE | 4.0 | Yes | |
| 242 | 46-208737P28 | SCREW CAP HEX SOCKET HD 10-32 X .75 PASSIVATE | 6.0 | Yes | |
| 243 | 46-208563P90 | SCREW SCREW OLD | 2.0 | Yes | |
| 244 | 46-208737P20 | SCREW SCREW OLD | 4.0 | Yes | |
| 245 | 46-208560P96 | SCREW SCREW OLD N7715010 (PASSIVATED) | 2.0 | Yes | |
| 246 | 1000904P447 | 25/64 ID, 1~ OD, 1/16~ THICK, B7A34C | 4.0 | Yes | |
| 247 | 1000904P460 | 0.201 ID, 0.375 OD,.05 THICK, BRASS B11H89C | 2.0 | Yes | |
| 248 | 1000904P419 | ID 0.328, OD 0.5, THK .016, B11H89C | 3.0 | Yes | |
| 249 | 1000904P425 | 0.2 ID, 0.5 OD, 04 THK, B11H89C | 6.0 | Yes | |
| 251 | 46-220196P3 | WASHER, #10 SCREW SIZE (0.190), SST ID.194-.202; OD .334; W.062; THK.047 | 2.0 | Yes |
Table top assembly 5146627

| Item | Part Number | Description | Qty | FRU | Lower Assy |
| 2 | 5145950 | FRP TABLE TOP | 1.0 | No | |
| 3 | 46-265993G1 | TABLE TOP WELDMENT | 1.0 | No | |
| 4 | 2177373 | METHACRYLATE ADHESIVE; 1:1 RATIO 2 COMPONENT STRUCTURAL ACRYLIC ADHES | 3.0 | No | |
| 5 | 46-271831P1 | POLYETHYLENE | 2.0 | Yes | |
| 6 | 46-271830P1 | NUT BAR | 2.0 | No | |
| 7 | 46-208737P49 | SCREW SCREW OLD | 10.0 | Yes |
TABLE LATCH ASSEMBLY 46-317191G1

| Item | Part Number | Description | Qty | FRU | Lower Assy |
| 2 | 46-271511P1 | 71~ (TRIM AR);SWAGED BALL ONE END | 1.0 | Yes | |
| 3 | 46-317188P1 | CARRIAGE RELEASE HSG. | 1.0 | Yes | |
| 5 | 46-271385P1 | 3/16~ DIA X 4~ LONG, SST | 1.0 | Yes | |
| 6 | 46-208735P87 | SPLIT LENGTHWISE .156 DIA X 1.250 LG .032 WALL 420 SST N533P1620 | 2.0 | Yes | |
| 7 | 46-271168P1 | 1~ OD X 3/4~ W, 3/8~ SHAFT, DELRIN | 2.0 | Yes | |
| 8 | 46-136374P17 | WIDTH .139 ID 0.859 DUROMETER A 70 BUNA N PARKER, 2-212 | 2.0 | Yes | |
| 9 | 46-317181P1 | SHIM | 12.0 | Yes | |
| 10 | 46-170686P1 | LOCTITE 242, 0.5CC TUBE 12 MONTH SHELF LIFE FROM DATE OF SHI PMENT FROM THE MANUFACTURER. | 0.0 | Yes | |
| 12 | 2297494 | BLOCK | 2.0 | No | |
| 13 | 46-208913P28 | SCREW SCREW OLD | 4.0 | Yes | |
| 14 | 46-136353P110 | SPRING-INCH SPRING FREE LG 3.500 SPECIAL RATE LBS/IN 1.02 | 2.0 | Yes | |
| 15 | 46-256047P1 | MOBILTEMP SHC 32 14 OZ CARTRIDGE | 0.0 | Yes | |
| 16 | 46-271164P1 | CRADDLE LATCH BLOCK, WHITE DELRIN | 1.0 | Yes | |
| 65597 | 46-170024P35 | SCREW-INCH SCREW OLD 1/4-20 HEX SOC HD ALLOY STL | 2.0 | Yes | |
| 78258 | 46-208560P81 | SCREW SCREW OLD | 1.0 | Yes |
DETACHABLE, TELESCOPING IV SUPPORT MRTBL2 46-271551G1

| Item | Part Number | Description | Qty | FRU | Lower Assy |
| 2 | 2297477 | TUBE | 1.0 | No | |
| 3 | 46-271393P1 | 6061 ALUMINUM ADJ CAP | 1.0 | No | |
| 4 | 46-271392P1 | 6061 ALUMINUM POLE | 1.0 | No | |
| 5 | 46-271390P1 | SUPPORT | 1.0 | No | |
| 6 | 46-271389P1 | 6061 ALUMINUM | 1.0 | No | |
| 9 | 46-136374P54 | WIDTH .070 ID 0.301 DUROMETER A 70 BUNA N PARKER, 2-011 | 1.0 | Yes | |
| 10 | 46-271437P1 | TAPE FASTENER | 1.0 | No | |
| 11 | 46-170686P1 | LOCTITE 242, 0.5CC TUBE 12 MONTH SHELF LIFE FROM DATE OF SHI PMENT FROM THE MANUFACTURER. | 0.0 | Yes | |
| 12 | 46-170855P1 | PETROLEUM JELLY,USP GRADE,2 OZ WITCO,SONNEBORN,PROTOPET ALBA FEE CONTROL NO. 8152301 | 0.0 | No | |
| 12675 | 46-208737P46 | SCREW SCREW OLD 18-8 PASSIVATE | 2.0 | No |
Amboard assy 5449126

| Item | Part Number | Description | Qty | FRU | Lower Assy |
| 2 | 5145951 | ARM BOARD ASSY | 1.0 | No | |
| 3 | 5145954 | ARMBOARD LATCH BAR | 1.0 | No | |
| 4 | 46-271014P1 | LATCH BAR PIVOT SHAFT | 1.0 | Yes | |
| 5 | 46-271015P1 | 0.853~ OD RH 270 DEG | 1.0 | Yes | |
| 6 | 2297514 | ARMBOARD PIVOT RETAINER | 2.0 | Yes | |
| 7 | 5441875 | BUMPER ARMBOARD | 2.0 | No | |
| 11 | 46-271020P1 | ARMBOARD PIVOT SHAFT BRASS | 2.0 | Yes | |
| 12 | 46-208735P76 | PIN,SPRING,DOWEL | 2.0 | Yes | |
| 14 | 46-256047P1 | MOBILTEMP SHC 32 14 OZ CARTRIDGE | 0.0 | Yes | |
| 15 | 46-170686P1 | LOCTITE 242, 0.5CC TUBE 12 MONTH SHELF LIFE FROM DATE OF SHI PMENT FROM THE MANUFACTURER. | 0.0 | Yes | |
| 16 | 46-208737P28 | SCREW CAP HEX SOCKET HD 10-32 X .75 PASSIVATE | 2.0 | Yes | |
| 17 | 46-208563P18 | SCREW SCREW OLD STL | 2.0 | Yes | |
| 18 | 46-208737P12 | SCREW CAP, HEX SOCKET HEAD, 10-32 X .50, STAINLESS STEEL N171P17008 (PASSIVATED) | 2.0 | Yes |
HYDRAULIC OIL FILTER AND GASKET FILTER 46-307878G1
| Item | Part Number | Description | Qty | FRU | Lower Assy |
| 1 | 46-230889P1 | IN-LINE HYDRAULIC OIL FILTER ELEMENT 60 MICRON FOR 46-230880P1 | 1.0 | Yes | |
| 2 | 46-230889P2 | FILTER GASKET | 1.0 | No |
CRADLE ASSY 5159990

| Item | Part Number | Description | Qty | FRU | Lower Assy |
| 2 | 5159991 | CRADLE FRONT SECTION ASSY | 1.0 | No | CRADLE FRONT SECTION ASSY 5159991 |
| 3 | 5159993 | CRADLE MID SECTION ASSY | 1.0 | No | CRADLE MID SECTION ASSY 5159993 |
| 4 | 5159992 | CRADLE REAR SECTION ASSY | 1.0 | No | |
| 5 | 5145961 | CRADLE MID SECTION-A | 5.0 | No | |
| 6 | 5145962 | CRADLE MID SECTION-B | 1.0 | No | |
| 7 | 5145972 | CRADLE HANDLE | 1.0 | Yes | |
| 9 | 2372295 | SHAFT | 1.0 | Yes | |
| 10 | 2372296 | FORK | 1.0 | Yes | |
| 11 | 2297485 | LEVER | 1.0 | No | |
| 12 | 2297513 | ANGLE | 1.0 | No | |
| 23 | 46-328574P1 | SPRING MADE FROM TYGON R-1000 FLEXIBLE PLASTIC TUBING | 1.0 | No | |
| 24 | 46-258519P1 | 5/8~ SQ X 7/8~ DELRIN | 1.0 | Yes | |
| 25 | 46-243737P1 | SCREW SCREW OLD GLASS-FILLED ACETAL ROD, COLOR WHITE | 1.0 | Yes | |
| 26 | 46-287973P1 | WHITE DELRIN | 1.0 | Yes | |
| 27 | 46-301614P1 | 12.57 X 1/8~DIA. FIBERGLASS | 8.0 | Yes | |
| 28 | 5145944 | CRADLE PAD | 1.0 | No | |
| 29 | 5145959 | SIDE RAIL-RH | 1.0 | No | |
| 30 | 5145960 | SIDE RAIL-LH | 1.0 | No | |
| 31 | 46-243167P1 | WHEEL HOUSING, MOLDED NORYL | 36.0 | Yes | |
| 32 | 5177597 | Cradle Wheel Bearing - 11 ball | 18.0 | Yes | |
| 34 | 46-301629P1 | KELVAR FIBER CORD WITH RESINS. .110~ WIDE X .035~ THK, 5000 YD ROLL (YELLOW COLOR) | 8.0 | No | |
| 35 | 46-136374P99 | WIDTH .070, I.D 3.739 | 1.0 | No | |
| 38 | 46-136393P155 | MECHANICAL/MATERIAL COMP 303 SST TYPE H | 1.0 | Yes | |
| 39 | 46-307077P1 | 3/16 DIA X 3/8 3/8 DIA HEAD 18-8 SST | 1.0 | No | |
| 43 | 46-170686P1 | LOCTITE 242, 0.5CC TUBE 12 MONTH SHELF LIFE FROM DATE OF SHI PMENT FROM THE MANUFACTURER. | 0.0 | Yes | |
| 45 | 46-220196P3 | WASHER, #10 SCREW SIZE (0.190), SST ID.194-.202; OD .334; W.062; THK.047 | 2.0 | Yes | |
| 46 | 46-208737P5 | SCREW SCREW OLD N171P16006 | 2.0 | Yes | |
| 47 | 46-221560P4 | SCREW SCREW OLD PT SST 18-8 | 1.0 | Yes | |
| 50 | 46-208563P88 | SCREW SCREW OLD SST 316 | 1.0 | Yes |
CRADLE FRONT SECTION ASSY 5159991

| Item | Part Number | Description | Qty | FRU | Lower Assy |
| 2 | 5145955 | CRADLE FRONT SECTION | 1.0 | No | |
| 3 | 5152088 | RELEASE BAR | 1.0 | No | |
| 4 | 5159558 | LEVER | 1.0 | No | |
| 5 | 46-301612P1 | CAP | 1.0 | No | |
| 6 | 46-243178P3 | BEARING | 2.0 | Yes |
CRADLE MID SECTION ASSY 5159993

| Item | Part Number | Description | Qty | FRU | Lower Assy |
| 2 | 5145956 | CRADLE MID SECTION-C | 1.0 | No | |
| 3 | 46-287968P1 | LEVER | 1.0 | No | |
| 4 | 46-287969P1 | ADJUSTMENT BLOCK | 1.0 | No | |
| 5 | 46-287970P1 | LATCH | 1.0 | No | |
| 6 | 46-301612P1 | CAP | 1.0 | No | |
| 7 | 46-258516P1 | 0.281~OD 5/8~ DELRIN PRESS FIT | 2.0 | Yes | |
| 8 | 46-243178P3 | BEARING | 2.0 | Yes |
TABLE COVER KIT 5442084

| Item | Part Number | Description | Qty | FRU | Lower Assy |
| 1 | 5449777 | OUTER COVER | 1.0 | Yes | OUTER COVER 5449777 |
| 2 | 5449777-2 | OUTER COVER | 1.0 | Yes | OUTER COVER 5449777–2 |
| 3 | 5457875 | Inner cover asy | 2.0 | No |
OUTER COVER 5449777

| Item | Part Number | Description | Qty | FRU | Lower Assy |
| 1 | 46-287647P1 | GE GREY | 1.0 | Yes | |
| 2 | 5145952 | OUTER COVER | 1.0 | Yes | |
| 153 | 46-170209P1 | 0.034 X 1.00 X 100 FT MINIMUM QUANTITY 300 ROLLS SEE TEXT FOR CORRECT ORDER QUANTITY. | 0.0 | Yes | |
| 177 | 5457680 | TRIM COVER | 1.0 | Yes | |
| 178 | 46-208935P4 | 4-40, 1/4~ HEX X .093 THK, BRASS | 2.0 | Yes | |
| 198 | 46-208560P81 | SCREW SCREW OLD | 2.0 | Yes |
OUTER COVER 5449777–2

| Item | Part Number | Description | Qty | FRU | Lower Assy |
| 1 | 46-287647P1 | GE GREY | 1.0 | Yes | |
| 2 | 5145952 | OUTER COVER | 1.0 | Yes | |
| 153 | 46-170209P1 | 0.034 X 1.00 X 100 FT MINIMUM QUANTITY 300 ROLLS SEE TEXT FOR CORRECT ORDER QUANTITY. | 0.0 | Yes | |
| 177 | 5457680 | TRIM COVER | 1.0 | Yes | |
| 178 | 46-208935P4 | 4-40, 1/4~ HEX X .093 THK, BRASS | 2.0 | Yes | |
| 179 | 46-208560P81 | SCREW SCREW OLD | 2.0 | Yes |
