About this task
This procedure removes all power from the Main Disconnect Panel (MDP). - GE Service Personnel are not permitted to perform any work on a non-GE MDP.
- GE Service Personnel are not permitted to work install, service, or maintain a GE-supplied MDP (including battery replacement). Work must be performed by qualified electricians.
- Testing or troubleshooting may be permitted if the GE Service person has completed all appropriate training and has proper PPE.
This procedure has three parts:
- Preparing the system for shutdown.
- Disconnecting building main power from the MDP.
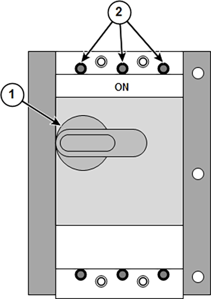
- Checking the MDP to make sure voltage is dissipated.
Locking out and tagging out the Main Disconnect Panel (MDP) also removes power from both the Heat Exchanger Cabinet (HEC) and the Power Distribution Unit (PDU). For information about locking out and tagging out these components individually, see LOTO for Heat Exchanger Cabinet (HEC) and LOTO for the PGR PDU/Gradient Subsystem.
Note: This procedure must be performed by a LOTO-authorized GE Field Engineer working with a customer-supplied electrician.
Completing all of the steps in this procedure ensures a safe environment and avoids equipment damage when working on the affected parts.
| Procedure details |
|---|
| Name of equipment | Number of locks | Titles of employees authorized to perform LOTO | Titles of affected employees | How to notify |
|---|
| LOTO at building main power removes electrical power from the MDP, the Heat Exchanger Cabinet (HEC) and Power Distribution Unit (PDU) | 1 per GE field engineer (FE) | GE Field Engineers working with a customer-supplied electrician | Hospital personnel | Verbally, posted signs |
Note: The following table describes the type, location, and magnitude of energy to be locked out/tagged out.
| Energy source | Yes | No | Location of energy | Magnitude/type of energy |
|---|
| Electrical | x | | Main Disconnect Panel (MDP) circuit breaker panel | 380-480VAC |
| Pneumatic | | x | | |
| Hydraulic | | x | | |
| Gas/Water/Steam | | x | | |
| Chemical | | x | | |
| Mechanical Motion | | x | | |
| Gravity | | x | | |
| Springs | | x | | |
| Thermal | | x | | |
| Stored Energy | x | | Time discharge of internal capacitors | 208VAC, 420VAC |
| Air Under Pressure | | x | | |
| Oil Under Pressure | | x | | |
| Water Under Pressure | | x | | |
| Gas Under Pressure | | x | | |
| Steam | | x | | |
| Other | | x | | |