- 00000018WIA3000BE20GYZ
- id_131059303.1
- Nov 27, 2019 10:19:09 AM
Replacing Operator Display, Control Panels, and E-Stop Buttons
Prerequisites
| Required persons | Preliminary requirements | Procedure | Finalization |
|---|---|---|---|
| 1 | 5 minutes | 45 minutes | 5 minutes |
| Item | Quantity | Effectivity | Part number | Manufacturer |
|---|---|---|---|---|
| Non-Magnetic Service Tool Kit | 1 | - |
5112581 | - |
| Item | Quantity | Effectivity | Part number | Manufacturer |
|---|---|---|---|---|
| In-Room Display (IRD) | 1 | - |
See FRU Manual | - |
| Trackball Control Panel (Left or Right) | 1 | - |
See FRU Manual | - |
| E-Stop Panel | 1 | - |
See FRU Manual | - |
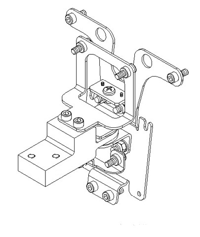
| IRD Pivot Bracket Assembly | 1 | - |
See FRU Manual | - |
| ||||
About this task
This procedure describes the removal and installation of the operator display, control panel, E-stop, and IRD pivot bracket assembly.
Replace In-Room Display (IRD)
Procedure
Replace Operator Control Panel (OCP)
About this task

Procedure
Replace E-Stop Button/Panel
About this task









