• SIGNA™ Hero 3.0T Service Methods
  • 5852800-8EN Revision 1.0
  • Object ID: 00000018WIA306E2C40GYZ
  • Topic ID: id_2018915 Version: 4.2
  • Date: Jul 7, 2021 3:51:58 PM

Removing the dockable table handle-end cradle cover

Removes the cover from the handle-end of the dockable table cradle.

Prerequisites

Personnel requirements
Required personsPreliminary requirementsProcedureFinalization
1-15 minutes-
Tools and test equipment
ItemQuantityPart numberManufacturer
Nonmagnetic Titanium Service Tool Kit, Small Set15113258-

Procedure

  1. If connected, disconnect the following connections from the handle-end cradle cover:
    Figure 1. Handle-end cradle cover connections
    1Peripheral gating connector
    2Patient alert tube
    3Respiratory tube
    4Electro-cardiogram connector
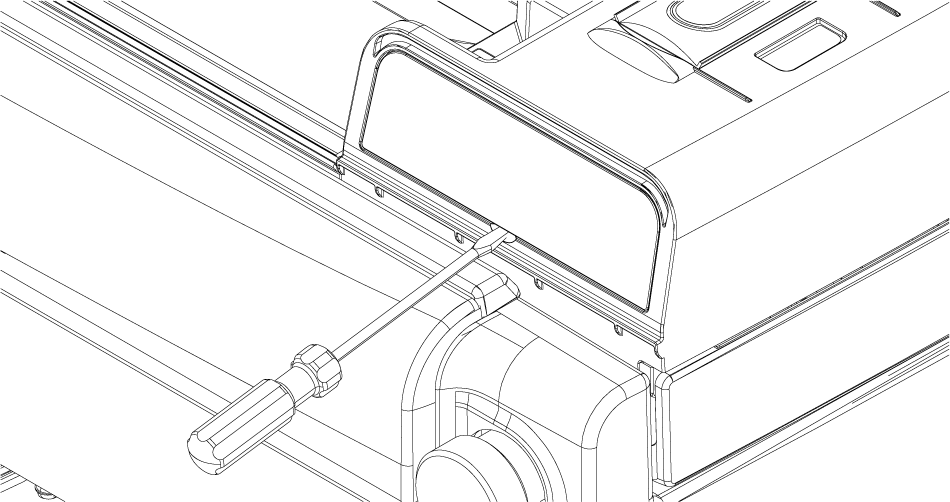
  2. Remove the handle-end cradle cover side covers by prying them off with a screwdriver.
    Figure 2. Side covers
  3. Remove the four screws securing the cover to the cradle.
    Figure 3. Handle-end cradle cover screws
  4. Lift the cover away from the cradle.
    Important: Lift the cover with care to not stretch the connected cables.
  5. If required, disconnect the required handle-end cradle cover components from the cover as follows:
    Figure 4. Handle-end cradle cover components
    1Pneumatic connection bracket screw
    2Microphone screw
    3Peripheral Gating (PG) bracket screw
    4P-port screws
    5Emergency egress connector
    1. Remove the two screws securing the pneumatic connection bracket to the cover.
    2. Remove the four screws securing the microphone to the cover.
    3. Remove the two screws securing the PG bracket to the cover.
    4. Disconnect the egress switch connector.
    5. Remove the four screws securing the P-port to the cover.
  6. Remove the cover if required.