• SIGNA™ Hero 3.0T Service Methods
  • 5852800-8EN Revision 1.0
  • Object ID: 00000018WIA30CC0E20GYZ
  • Topic ID: id_13106371 Version: 3.1
  • Date: May 7, 2021 12:17:42 PM

Hoist Setup

Prerequisites

Table 1. Personnel requirements
Required personsPreliminary requirementsProcedureFinalization
1Not ApplicableNot ApplicableNot Applicable
Table 2. Tools and test equipment
ItemQuantityEffectivityPart numberManufacturer
Hoist Service Kit (Service Tool)1-

5196226

-
Table 3. Safety
Topic ID: id_SL14184525-1179504

Hoist Base Installation

Topic ID: id_SL14184526-1179504

Hoist Base Installation for ISC

Procedure

Install ISC front hut brackets with four screws per each on front top frame.
Figure 1. ISC front hut bracket
Topic ID: id_SL14184533-1179504

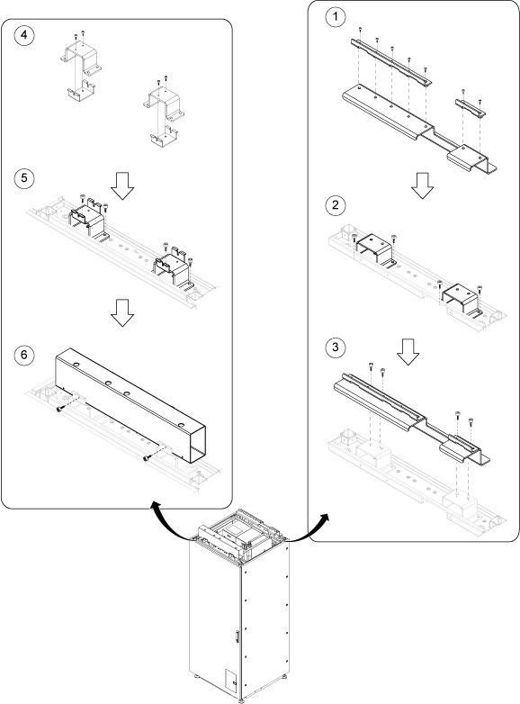
Hoist Base Installation for ICC

Procedure

  1. Assemble ICC RAER TABLE BRACKET (5554986), HOIST REAR BRACKET Long (5554765) and HOIST REAR BRACKET short (5554764) with 7 screws.
  2. Install ICC Rear hut bracket (5548602) with two screws per each.
  3. Install assembly onto Rear hut bracket with four screws.
  4. Assemble front base bracket (5548593) and ICC Front hut bracket (5548602) with two screws per each.
  5. Install assembly onto front top frame with two screws per each.
  6. Install Support Tube (5548592) with two screws.
    Note:

    Support Tube (5548592) is stored behind ICC front cover.

    Figure 2. Hoist Base Installation for ICC
Topic ID: id_SL14184541-1179504

Hoist Beam Setup

Procedure

  1. Open ISC door.
  2. Loosen two screws and lift up the Main Lifting Beam to remove it.
    Figure 3. Main Lifting Beam
    Note:

    Main Lifting Beam setup position depends on the replacement FRU location.

    Figure 4. Main Lifting Beam setup position
    Position Lifting Component
    1Patient Blower
    2GCU, CCU
    3Body Coil Blower
    4ICC Control Unit
    5RF Amp, SSSA, SSSPS
    6Driver Module
  3. Setup the Main Lifting Beam into the brackets.
    1. Slides the hook plate into the rear bracket.
    2. Insert the locking projection into the hole of front bracket.
    Figure 5. Remove Support Bracket assembly
  4. Inspect the ball bearing in the locking pin to confirm it is operating correctly and is not worn.
    Figure 6. Hoist locking pin
    1Locking pin ring
    2Tie wrap
    3Ball bearing
  5. Insert the hoist assembly into the front end of hoist rail, and then insert a locking pin into the hole of front rail. This locking pin prevents the hoist assembly from sliding out of the rail.
    Figure 7. Insert the hoist assembly and lock
  6. Secure the locking pin ring with a tie wrap to keep it in place.
    Important: This step will make sure the locking pin cannot slide out while lifting a component.
Topic ID: id_14966627

Finalization

Procedure

After replacement is completed, restore it by reverse order.