• Discovery MR750w and SIGNA™ Architect T 3.0T System Service Methods
  • 5690002-2EN Revision 4
  • Object ID: 00000018WIA30C72750GYZ
  • Topic ID: id_2025643 Version: 1.5
  • Date: Jun 5, 2020 4:42:18 PM

Measuring the patient table height

Topic ID: task_mc3_qft_hlb

Multiple table configuration

Procedure

Select a response from the Multiple tables? drop-down menu in the macro tool. Select yes if the scanner has multiple tables and no if the scanner only has one table.
Figure 1. Multiple table selection
Topic ID: task_mfk_lnt_hlb

Boss 1 height

Procedure

  1. Remove the front table covers and use the boss height gauge to check the height difference between the table and dock bosses. Make sure to slide the boss height gauge in from the side and that the gauge covers both bosses.
    Note: A missing front table cover, as shown in the illustration, may result in 16-channel systems reporting a 32-channel connector is not attached. When the adjustment is complete, replace the front cover to prevent this error.
    Note: The specification for the height difference between the table and dock bosses is less 1 mm. If the boss height gauge does not slide over both bosses from the side, the bosses are outside of the specification.
    Figure 2. Boss height alignment check
    1Dock boss
    2Table boss
    3Boss height gauge
  2. If the boss height alignment is within specifications, select Pass from the drop-down menu in the macro tool. If the alignment is outside of specifications, select Fail from the drop-down in the macro tool.
    Figure 3. Boss height alignment pass/fail drop-down
  3. If the boss height alignment is outside of specification, adjust the front left and right casters until the boss heights are aligned within specification.
  4. To adjust the casters:
    1. Undock the table.
    2. Engage the table brakes in the full lock position.
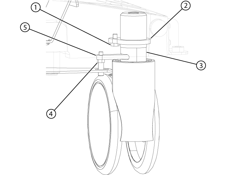
    3. Remove the collar bolt from the collar of the caster.
      Figure 4. Caster assembly
      1Collar bolt
      2Caster collar
      3Caster shaft
      4Caster linkage pin
      5Wheel lock lever
    4. Remove the caster pin.
    5. Rotate the entire caster assembly (make sure the threaded portion of the caster is rotating) clockwise or counter-clockwise to raise or lower the caster and align the bosses to within specifications. Each caster turn is approximately 1.5 mm of height adjustment.
      • Rotating the caster clockwise, as viewed from the top, raises the table bosses.
      • Rotating the caster counter-clockwise, as viewed from the top, lowers the table bosses.
    6. Reinstall the collar lock nut and caster pin.
    7. Make sure the nut portion of the caster pin is above the hook of the brake linkage plate.
      Figure 5. Caster pin nut clearance
      1Brake linkage plate
      2Caster pin nut
    8. Make sure the caster pin engagement with the brake linkage plate hook has enough contact area.
      Figure 6. Caster pin engagement
      1Caster pin nut above the link plate
      2The plate may sag. Lightly push the plate down to lowest sag point.
      3Minimum of 2 mm below the plate at its lowest point
    9. If the nut portion of the caster pin is in the hook of the brake linkage plate or does not have enough engagement with the linkage plate, minimally adjust the caster.
Topic ID: task_isf_myt_hlb

Table 1

Procedure

  1. Dock the table.
  2. Use the vertical rulers and measure the height of the horizontal laser line at each of the four corners of the table approximately 6 cm in from the ends of the table. Make sure the rulers do not rest on the chamfered surfaces.
    Figure 7. Vertical ruler location at the front of the table
    Figure 8. Vertical ruler location at the rear of the table
  3. Record the heights of the horizontal laser line on the vertical rulers in centimeters as they will be entered in the macro tool.
    Note: These are the values that are used to calculate the final table adjustment.
    Figure 9. Sample table 1 height values in the macro tool
Topic ID: task_xgv_zzt_hlb

Multiple table configurations

Procedure

If a scanner has multiple tables, repeat Boss 1 height and Table 1 for table 2 in the tool.