STANDARD PATIENT TRANSPORT 5455274
For Patient Table Straps and Pads FRU, see Straps and Pads for Patient Table
Figure 1. STANDARD PATIENT TRANSPORT 5455274
1 TABLE BASE ASSY 5451341
Figure 2. TABLE BASE ASSY 5451341
1.1 TABLE BASE KIT 5456898
Figure 3. TABLE BASE KIT 5456898
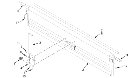
Figure 4. View1

Figure 5. View2

Figure 6. View3

Figure 7. View4

Figure 8. View5

Figure 9. View6

Figure 10. View7

Figure 11. HYDRAULIC CYLINDER AREA

Figure 12. HOOK AREA

1.1.1 HYDRAULIC PUMP ASSEMBLY MRTBL2 PATIENT TRANSPORT 46-265779G1
Figure 13. HYDRAULIC PUMP ASSEMBLY 46-265779G1

1.1.2 HYDRAULIC CYLINDER, TABLE ELEVATING MRTBL2 PATIENT TRANSPORT 46-265780G1
Figure 14. HYDRAULIC CYLINDER 46-265780G1

1.1.3 DOCK HOOK MOUNTING ARM WELDMENT ASM 46-271676G1
Figure 15. DOCK HOOK MOUNTING ARM ASM 46-271676G1

1.1.4 PUMP PEDAL ASM INFINITY COLOR 5450368
Figure 16. PUMP PEDAL ASM INFINITY COLOR 5450368

1.1.5 DOWN PEDAL ASM INFINITY COLOR 5457682
Figure 17. DOWN PEDAL ASM INFINITY COLOR 5457682

1.1.6 UNDOCK PEDAL ASM INFINITY COLOR 5443456
Figure 18. UNDOCK PEDAL ASM INFINITY COLOR 5443456

1.1.7 DOCK PEDAL ASM INFINITY COLOR 5461489
Figure 19. DOCK PEDAL ASM INFINITY COLOR 5461489

1.1.8 UP INDICATOR ROD ASSEMBLY 46-271916G1
Figure 20. UP INDICATOR ROD ASSEMBLY 46-271916G1

1.1.9 14.13~ LONG ALUM ROD W/BUMPER 46-271517G1
1.1.10 RIGHT ACTUATOR 46-271516G1
1.1.11 MECHANICAL LINKAGE 46-271576G1
1.2 TABLE TOP 5438853
Figure 21. TABLE TOP 5438853

1.2.1 Table top assembly 5146627
Figure 22. Table top assembly 5146627

1.2.2 TABLE LATCH ASSEMBLY 46-317191G1
Figure 23. TABLE LATCH ASSEMBLY 46-317191G1

1.2.3 DETACHABLE, TELESCOPING IV SUPPORT MRTBL2 46-271551G1
Figure 24. DETACHABLE, TELESCOPING IV SUPPORT MRTBL2 46-271551G1

1.3 Amboard assy 5449126
Figure 25. Amboard assy 5449126

1.4 HYDRAULIC OIL FILTER AND GASKET FILTER 46-307878G1
2 CRADLE ASSY 5159990
Figure 26. CRADLE ASSY 5159990
2.1 CRADLE FRONT SECTION ASSY 5159991
Figure 27. CRADLE FRONT SECTION ASSY 5159991

2.2 CRADLE MID SECTION ASSY 5159993
Figure 28. CRADLE MID SECTION ASSY 5159993

3 TABLE COVER KIT 5442084
Figure 29. TABLE COVER KIT 5442084

3.1 OUTER COVER 5449777
Figure 30. OUTER COVER 5449777

3.2 OUTER COVER 5449777–2
Figure 31. OUTER COVER 5449777–2
