- Topic ID: concept_h4k_n3p_1jb
- Version: 2.0
- Date: Oct 28, 2019 4:24:37 AM
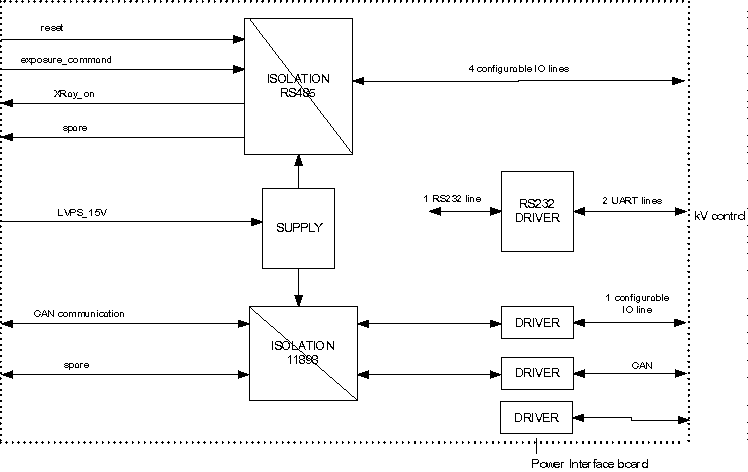
CT Interface
The interface between the generator and the ORP consists of:
-
An isolated CAN communication line to the ORP
-
Three isolated lines:
-
Exposure command
-
X-ray on
-
Reset
-
Figure 1. CT Interface (CT-IF-V4)
