• Topic ID: concept_h4k_n3p_1jb
  • Version: 2.0
  • Date: Oct 28, 2019 4:24:37 AM

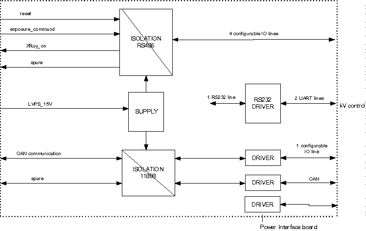
CT Interface

The interface between the generator and the ORP consists of:

  • An isolated CAN communication line to the ORP

  • Three isolated lines:

    • Exposure command

    • X-ray on

    • Reset

Figure 1. CT Interface (CT-IF-V4)