- Topic ID: id_11038894
- Version: 3.0
- Date: Apr 22, 2019 12:56:00 AM
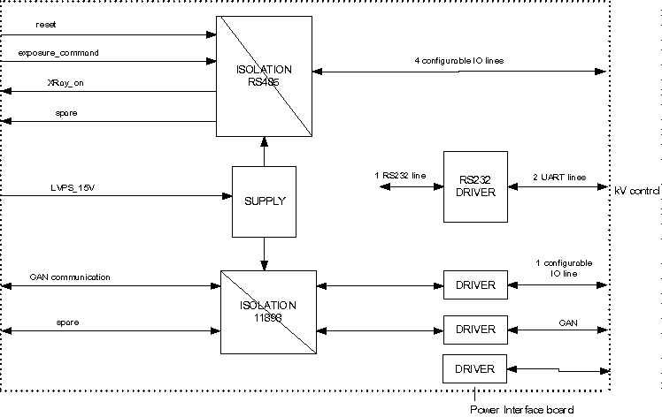
CT Interface (LS16, Ultra, Plus)
The interface between the generator and the ORP consists of:
-
An isolated CAN communication line to the ORP
-
Three isolated lines:
-
Exposure command
-
X-ray on
-
Reset
-
Figure 1. CT Interface (CT-IF-V4)
