• Topic ID: id_11038894
  • Version: 3.0
  • Date: Apr 22, 2019 12:56:00 AM

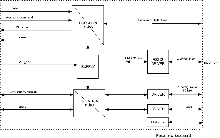
CT Interface (LS16, Ultra, Plus)

The interface between the generator and the ORP consists of:

  • An isolated CAN communication line to the ORP

  • Three isolated lines:

    • Exposure command

    • X-ray on

    • Reset

Figure 1. CT Interface (CT-IF-V4)